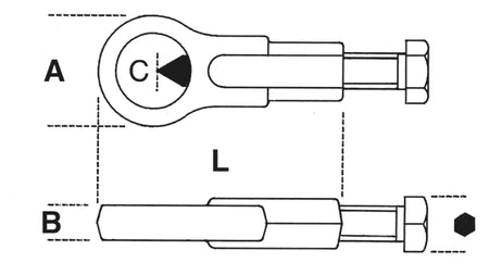
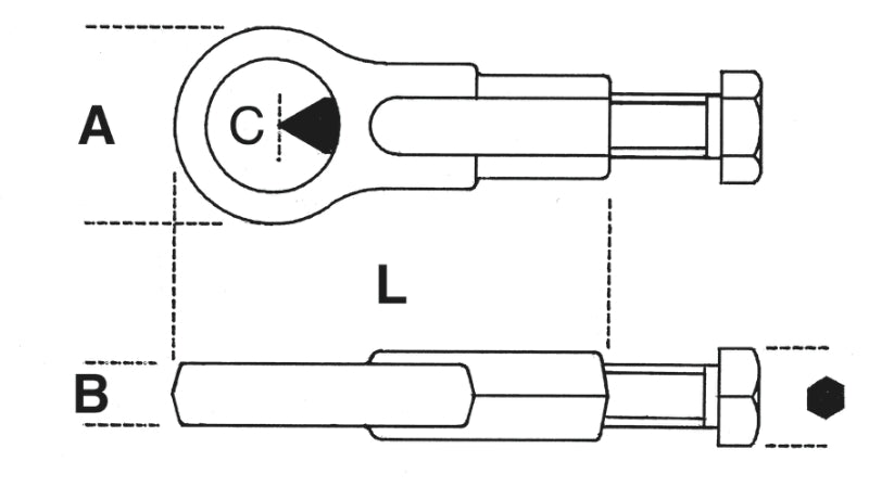
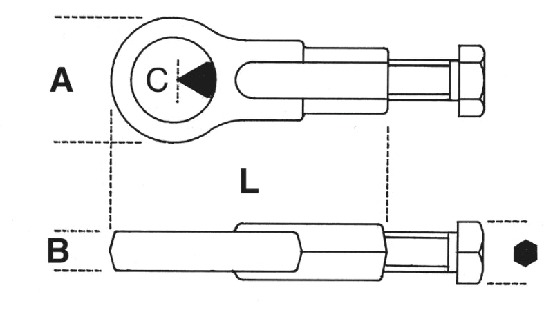
1709/10 - 1709/18 - Nut Splitters

Only 1 left
Regular price RM277.00
Size
Product details
  • Vendor Unipac Store