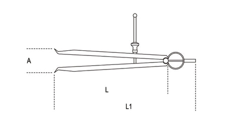
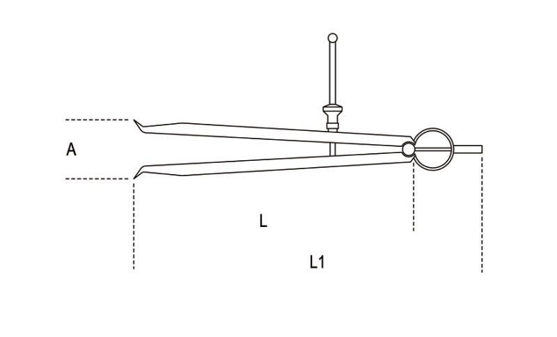
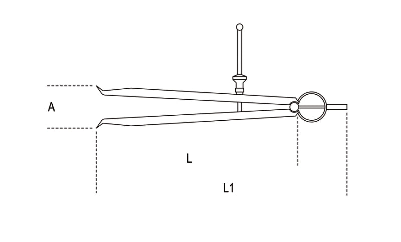
1680B - Outside Callipers

Only 1 left
Regular price RM99.00
Size
Product details
  • Vendor Unipac Store