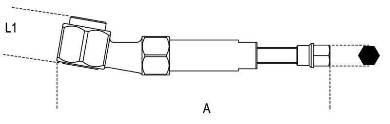
1570/3 - Hydraulic Presses for Pullers

Out of stock
Regular price RM1,254.00
Product details
  • Vendor Unipac Store