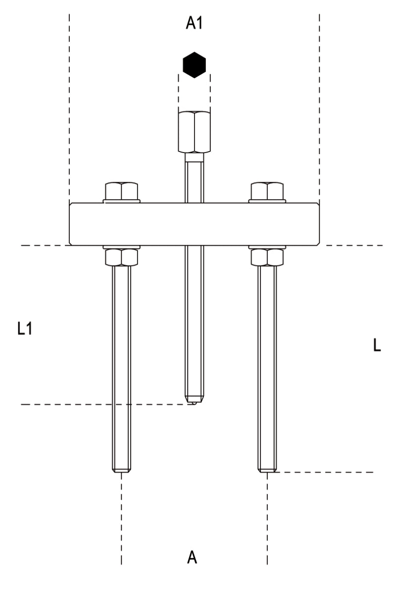
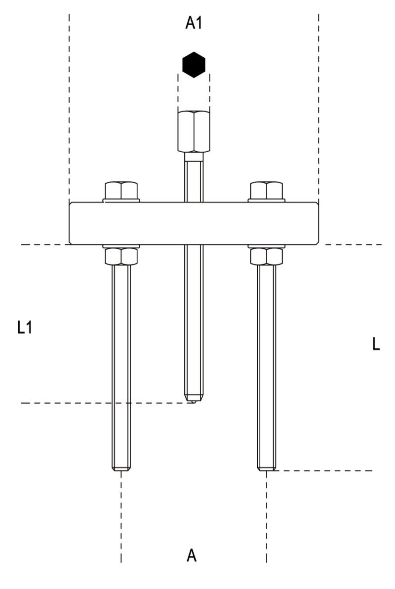
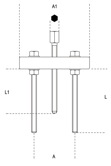
1533PR/1 - 2 - 3 - Extensions for Pullers 1533

Out of stock
Regular price RM127.00
Size
Product details
  • Vendor Unipac Store