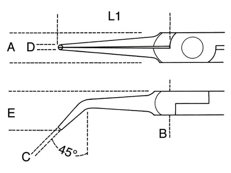
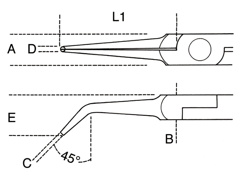
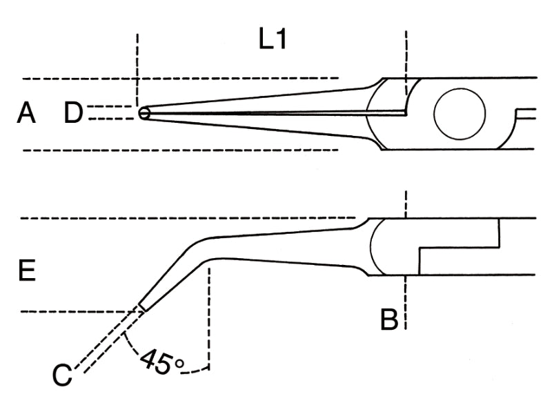
1178BM/P - Smooth Half-Round Long Bent Needle Nose Pliers, Bimaterial Handles

In stock
Regular price RM263.00
Product details
  • Vendor Unipac Store